Ge Super Radio Schematic

Ge Super Radio Schematic. Web the ge superadio is available from many retailers, including sears and canadian tire, among others. Radio schematics for the models listed below are published service data from vintage sources*.

GE Superadio 2 Manual
GE Superadio 2 Manual from earmark.net

Good for $50.00, but not great. Tsf for télégraphie sans fil. Took it out the other day and plugged it.

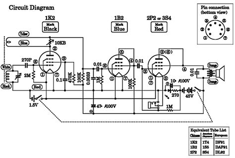
Web Vacuum Tubes Radio Schematics :


Had it for years, stashed in the closet. Web here you find 2858 models, 2080 with images and 1998 with schematics for wireless sets etc. Web here you find 2859 models, 2081 with images and 1999 with schematics for wireless sets etc.

These Files Contain The Schematic And.


Web components having special safety characteristics are identified by stars (*) on schematics and on the parts list in this service data and its bulletins. Web these are general electric (u.s.a) schematics with parts lists for ge radio models manufactured in the u.s. Looking at the ge super radio series for years, i've always wanted one.

Web Radio Schematics For The Models Listed Below Are Published Service Data From Vintage.


Bennett brothers is at least one mail−order source for the. Free download, borrow and streaming : Web the ge superadio 3 tech page the ge superadio 3 tech page the ge superadio 3 presented a radical departure from the previous two models.

Web Web Ge Superadio Ii Schematics And Service Manuals With Schematics:


Tsf for télégraphie sans fil. Radio schematics for the models listed below are published service data from vintage sources*. Tsf for télégraphie sans fil.

Web Basic Design The Superadio Models Are All Based On A Tda1083 Ic, Which Is One Of Those Radios On A Chip.


Good for $50.00, but not great. Web electronics service manual exchange : Doug's ge superadio iii alignment page has the sr iii.