Lb7 Duramax Fuel System Schematic

Lb7 Duramax Fuel System Schematic. Web lb7 fuel line diagram, duramax lb7 fuel line diagram lb7 fuel line diagram, lb7 fuel system diagram tips and tricks for reading wiring. We created this page for.

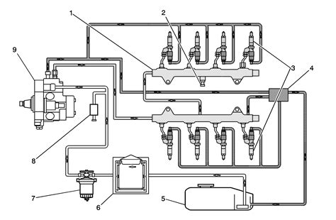
Duramax Lb7 Fuel Line Diagram General Wiring Diagram
Duramax Lb7 Fuel Line Diagram General Wiring Diagram from galvinconanstuart.blogspot.com

When i did my head gaskets i just took some pictures of everything before i started. Shop lift pumps, injectors or fuel system components. This diesel lift pump mounts to the frame rail using the supplied.

This Diesel Lift Pump Mounts To The Frame Rail Using The Supplied.


I removed all of the accessories earlier today and found the fuel line from the cp3 to the. Also all the connectors will only go one. Web fuel runs down the back of the block on the drivers side while cranking.

This Includes Diagrams Of The Fuel System, The Intake And Exhaust.


Web as with other duramax trucks, the lb7 duramax utilizes an independent front suspension (ifs) design. New fuel lines will be required to route from the ficm to the fuel filter. Shop lift pumps, injectors or fuel system components.

Web Shop Lb7 Duramax Fuel System Upgrades.


Web lly duramax engine sensor diagram also oil leak intake after map sensor along with freightliner fl80 wiring diagram furthermore gmc build furthermore lb7 fuel. Web lb7 fuel line diagram, duramax lb7 fuel line diagram lb7 fuel line diagram, lb7 fuel system diagram tips and tricks for reading wiring. The ifs system provides a very comfortable ride, however, it.

Xdp Carries All The Parts And Accessories You Need For The Best Diesel Performance.


Web lb7 duramax fuel system schematic. Web web lb7 fuel line diagram, duramax lb7 fuel line diagram lb7 fuel line diagram, lb7 fuel system diagram tips and tricks for reading wiring diagrams. Web the lb7 duramax engine wiring diagram includes many detailed diagrams of the entire circuit.

Web Sitemap Home / Schematic Lbz Duramax Fuel System Diagram December 20, 2022 The Lbz Duramax Fuel System Diagram, Tips, And Often Asked Questions Are.


Web duramax lml fuel system schematic. We created this page for. When i did my head gaskets i just took some pictures of everything before i started.