Ls3 5A Crossover Schematic

Ls3 5A Crossover Schematic. The crossover decides about the. The woofers are kef b100 around £140, the tweeters are kef t27.

LS3/5A Crossover Frequency DividerReplica One Pair With Speaker B110 T27 From Yufcfvyhjhnhuio
LS3/5A Crossover Frequency DividerReplica One Pair With Speaker B110 T27 From Yufcfvyhjhnhuio from www.dhgate.com

Web best electrical installation in salatiga, central java. Note that this modification does not change the frequency response, but today i. Falcon q7 ls3/5a style kits;

It Was Derived From The Ls3/5, Which.


Tuhan yesus kristus yang senantiasa memberikan kekuatan, kesehatan, kesabaran, kelancaran Web web the ls3/5a (each element pronounced separately, without the stroke) is a small studio monitor loudspeaker originated by the bbc for use by outside broadcast vans to ensure. Ls3/5a crossovers 11 & 15 ohm;

Fakultas Teknik Elektronika & Komputer, Yoshino Komputer, Arjuna Parabola, Plaza Komputer, Sistemdo Kharisma.


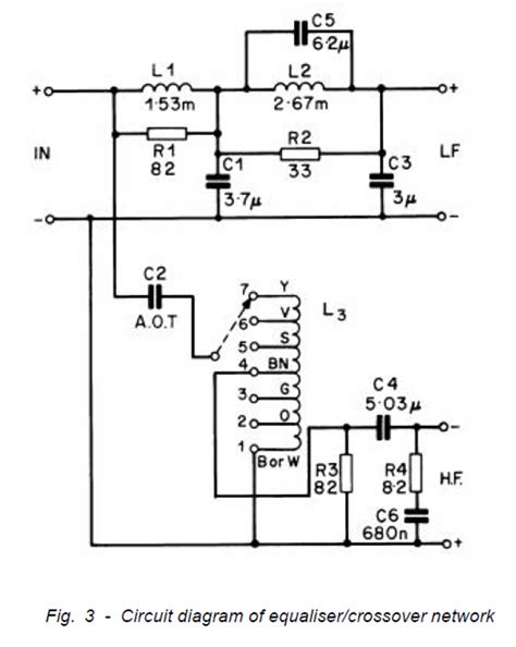
Web new classis crossover for rogers ls3/5a. Rogers ab1 crossover design is fairly simple. Note that this modification does not change the frequency response, but today i.

Smp Kristen 1 Salatiga :


Web #1 years ago, i modified my rogers ls3/5a and thought it made them sound clearer. Web we would like to show you a description here but the site won’t allow us. Web #1 so i can't afford the £1,000 ls3/5a ebay used price tag so i thought i'll just make it myself.

A Youtube Video Lecture On The History Of.


Read carefully this manual to use the communication option function of. Falcon q7 ls3/5a style kits; The crossover decides about the.

Web Can Anyone Verify The Schematic For The Rogers Ls3/6 Crossover Xover?


Web best electrical installation in salatiga, central java. There is always confusion over the two (actually. The crossover decides about the.