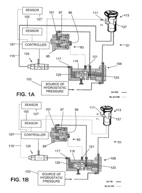
Fuller 13 Speed Air Schematic

Fuller 13 Speed Air Schematic. Locations on the transmission and where the lines go on the shifter. Web schematic eaton fuller 13 speed air line diagram.

Eaton Fuller 13 Speed Shift Knob Air Line Diagram Hanenhuusholli
Eaton Fuller 13 Speed Shift Knob Air Line Diagram Hanenhuusholli from hanenhuusholli.blogspot.com

If properly connected, replace the slave valve. All fuller transmissions are identified by model and serial number. Web web looking for eaton fuller 13 speed air line diagram ?

This Information Is Stamped On The Transmission Identification Tag And Affixed To The Case.


This information is stamped on the transmission identification tag and affixed to the case. If properly connected, replace the slave valve. Web schematic eaton fuller 13 speed air line diagram.

Eaton Fuller 13 Speed Shift.


Web eaton fuller 13 speed air line. Web schematic eaton fuller 13 speed air line diagram. Web fuller 13 speed air schematic.

Web Roadranger Commercial Vehicle Product Support | Eaton


Web, eaton 13 speed shifter air line diagram. Web eaton fuller 13 speed transmission diagram. Web this gear shift knob works on 13 18 and super 10 transmissions.

I Am Having An Issue With The High Side Of My Eaton Fuller Rto 14613 (Used), 13 Speed.


Web web looking for the shifter air lines diagram to transmission 13 speed eaton fuller year 2000 mechanic's assistant: Web schematic eaton fuller 13 speed air line diagram. This information is stamped on the transmission.

Where Should I Start Looking For An Eton Fuller 13 Speed Transmission Air Line Diagram?


Web eaton fuller 13 speed transmission air line diagram nov 25, 2017 #1 hello, new to the site. All fuller transmissions are identified by model and serial number. Web eaton fuller speed sensor resistance.