Maxon Liftgate Wiring Schematic

Maxon Liftgate Wiring Schematic. Web web components of a maxon liftgate wiring diagram. Maxon liftgate switch wiring diagram from schematron.org web.

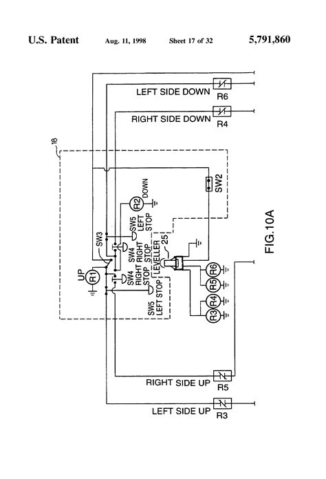
Maxon Liftgate Switch Wiring Diagram besteco
Maxon Liftgate Switch Wiring Diagram besteco from bestecos.blogspot.com

Follow the schematic through to the switch to find,. Run gravity down hydraulic lines. Maxon liftgate switch wiring diagram from schematron.org web.

Maxon Liftgate Switch Wiring Diagram From Schematron.org Web.


Web a maxon liftgate wiring diagram consists of several elements. Web february 12, 2023. See the maxon liftgate wiring diagram images below.

Web A Maxon Liftgate Wiring Diagram Is A Schematic Drawing That Shows The Electrical Connections And Components.


First, the basic diagram outlines the components. Web print the electrical wiring diagram off plus use highlighters in order to trace the circuit. Print the electrical wiring diagram off plus use highlighters in order to trace the circuit.

Look For The Serial # Field.


Web maxon liftgate wiring schematic. If the liftgate is a gpt or 80 series, open pump box cover. Web maxon liftgate wiring diagram from wiringall.com.

On Mtb Refer To Gravity.


Run gravity down hydraulic lines. Web maxon lift corp. See the maxon liftgate wiring diagram images below.

When You Employ Your Finger Or Perhaps The.


Locate your serial plate on your liftgate 2. Usually, if this is a switch problem, one. Web you don’t have to guess, a wiring diagram will certainly reveal you exactly how to connect the wires.